Bonjour, je suis Pierre Blanc, Président d’Athling. Avec notre newsletter La tête et les jambes, nous voulons partager une grille de lecture de votre actualité ou vous informer de la nôtre. Pourquoi vous écrire? N’est-ce pas le meilleur prétexte pour engager une conversation?
Les publications sur des performances de technologies s’enchaînent à un rythme toujours aussi soutenu. Vous n’arrivez pas à suivre? Vous voulez vous faire une idée? Démêler le vrai du faux? Avoir la «vérité des prix»? Vous projeter? Ne stressez pas… ce 8ème numéro de notre newsletter est pour vous!
Nous vous proposons un rapide voyage dans les trésors d’une base de données de brevets. Pour vous mettre en jambe, commençons par le brevet de l’entreprise israélienne Facence qui produit des «wearables» pour surveiller vos constantes physiques. Délirant? Précurseur? Un peu les deux à la fois.

Nous terminons par un peu de pub. Normal, non? Vous pourriez être surpris…
Bonne lecture et restons connectés!
Les usages de demain se trouvent dans les brevets d’aujourd’hui. Je ne peux que vous conseiller de plonger (avec modération tout de même) dans la base de données de l’US Patent and Trademark Office (USPTO). Elle recense tous les brevets déposés aux USA depuis 1976 sous leur forme complète (texte et schémas). Cet historique long permet de dégager des tendances qualitatives et quantitatives.
Prêt pour une visite guidée éclair?
[#1] IBM toujours en tête de peloton: en nombre de brevets obtenus, les GAFA font certes une percée depuis 2015, mais sur le temps long, les majors technologiques tiennent leur rang. Encore en 2019, le plus gros récipiendaire de brevets reste IBM, avec plus de 9200 brevets, soit plus que tous les GAFA réunis.
[#2] Tech, Tech et Tech: sur les 100 premiers breveteurs, les deux tiers sont des entreprises des secteurs informatique/électronique. A noter, Microsoft est le 4ème plus gros «breveteur». Apple émarge au 7ème rang. Aucun NATU (Netflix, Uber, Tesla, Amazon) ne pointe parmi les 100 premiers breveteurs. Les secteurs traditionnels banque, pétrole, chimie et grande distribution représentent chacun moins de 1% des brevets accordés en 2019.
[#3] Mais quelle Tech? Les technologies les plus dynamiques en nombre de brevets depuis 5 ans sont liées à la biologie (végétale, humaine), à la médecine, aux systèmes de contrôle et de guidage (en particulier pour les véhicules autonomes), et aux technologies informatiques avancées, qui comprennent l’intelligence artificielle (pas étonnant…) et l’informatique quantique (… elle arrive).
[#4] Voice is the new vision: parmi ces «technologies informatiques avancées», la vision machine connait un essor très marqué, notamment depuis 2017-2018. La raison? Un déploiement vers les industries de services et surtout le commerce. Le seul Amazon a déposé 400 brevets dans ce domaine depuis 2016. A noter que le traitement de la voix suit exactement les mêmes tendances en nombre de brevets et avec 10 ans de moins que… la vision! A suivre de très près donc.

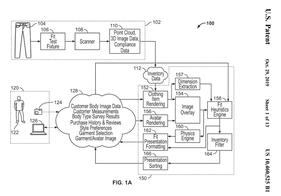
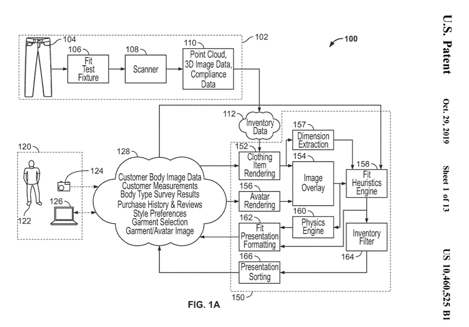
[#5] Une pépite? Par exemple pour le e-commerce d’habillement, l’essayage virtuel par modèle 3D du vêtement et du corps du client…

Vous pourrez également en découvrir d’autres sur les réseaux sociaux avec le hashtag #risingtechnologies ou ici
So what?
Vous souhaitez une visite guidée plus en lien avec votre actualité?
>> Dès aujourd’hui et 100% à distance, vous pouvez nous solliciter sur des analyses ciblées sur une technologie, un secteur ou une entreprise spécifique.
>> Dès que les contraintes sanitaires le permettront, nous pourrons monter des ateliers de découverte de cas d’usage dans vos locaux avec vos équipes, animés à partir des contenus tirés de nos analyses.
>> Enfin, nous réfléchissons sur une offre de services ad hoc sous forme d’abonnement.
Vous souhaitez échanger avec nos experts à propos de cette tribune? Contactez-nous par téléphone (0141120880) ou par mail ask@athling.com.

La crise économique liée à la crise sanitaire elle-même liée au Covid-19 est profonde. Les données publiques et privées nous donnent une idée de l’ampleur du ralentissement secteur d’activité par secteur d’activité. A titre d’illustration:
La distribution du Fonds de Solidarité à destination des TPE et des indépendants se concentre beaucoup sur les TPE du commerce (y compris concessions automobiles), de la construction, des autres activités de service et de l’hôtellerie-restauration, et ce sur tout le territoire. C’est le tissu économique de proximité qui est impacté.
Le Prêt Garanti par l’Etat (PGE) a été fortement sollicité par les TPE qui pèsent pour 90% des PGE attribués en nombre. Quant aux grands donneurs d’ordre fragilisés sur la durée, ils pourraient entraîner leurs fournisseurs et les bassins d’activité dans un effet domino.
Les apports de ces «amortisseurs» vont s’estomper dans le temps. Vous souhaitez mesurer votre exposition et anticiper d’éventuelles défaillances? Sachez que nous développons des services à destination des dirigeants / managers et des acteurs publics pour répondre à ces questions. Qui dit anticiper dit prévoir des plans d’actions et prendre des décisions en connaissance de cause. Nous aurons l’occasion de communiquer sur ces sujets dans le prochain numéro de notre newsletter!

Des posts sur une actualité, la vôtre ou la nôtre, sont régulièrement publiés sur les réseaux sociaux. Retrouvez-moi sur LinkedIn (abonnez-vous au hashtag #IAamonboss) ou sur Twitter.

Cabinet de conseil en stratégie et organisation, Athling intervient auprès de banques, de bancassureurs et d’établissements de crédit spécialisés sur des projets de développement ou de transformation. Nos consultants réalisent des missions de conseil de direction générale ou opérationnelles en immersion complète au sein des équipes pour lesquelles nous travaillons.
De manière transversale, c’est-à-dire sur tous les secteurs d’activité, nous accompagnons des dirigeants et des managers dans l’appropriation et le déploiement des technologies comme l’intelligence artificielle. Prenez 3’ pour découvrir notre nouvelle offre de service Athling (re)invent… ou comment utiliser les technologies comme levier. Le communiqué de presse est consultable ici.
Parlons-nous de visu ou par téléphone (0614687579), ou sollicitez-moi par mail à l’adresse pblanc@athling.com.
Pour suivre Athling sur LinkedIn, c’est ici.
#askAthling #financialservices #businessdevelopment #beyondEvidencewithAthling #innovation #inspiration #OnePageTalk #transformation #artificialintelligence #beyondAIwithAthling #futureofsociety #futureofwork